可能是DFT最全面的介绍 -- Boundary Scan

边扫描测试(Boundary Scan)是在20世纪80年代中期,为了解决PCB物理访问问题而发展起来的。1990年2月,成为IEEE标准,分类在标题 “A standard boundary scan architecture and test access port”下。

1、什么是Boundary Scan?
随着大规模集成电路的出现,印制电路板制造工艺向小,微,薄发展,传统的测试已经没有办法满足这类产品的测试要求。由于芯片的引脚多,元器件体积小,板的密度特别大,根本没有办法用探针进行测试。一种新的测试技术产生了,联合测试行为组织(Joint Test Action Group)简称JTAG, 定义这种新的测试方法即边界扫描测试。

Boundary scan is used for Board Test and IC IO test.
2、Boundary Scan原理:
通过在IC的内部逻辑和每个器件引脚间放置移位寄存器(shift register).每个移位寄存器叫做一个CELL。这些CELL准许你去控制和观察每个输入/输出引脚的状态。当这些CELL连在一起就形成了一个数据寄存器链(data register chain),我门叫它边界寄存器(boundaryregister)。
除了上面的移位寄存器外,在IC上还集成测试访问端口控制器 (TAP controller), 指令寄存器(Instruction register)对边界扫描的指令进行解码以便执行各种测试功能。旁路寄存器(bypass register)提供一个最短的测试通路。
3、Boundary Scan的硬件电路:
1、JTAG
JTAG(Joint Test Action Group,联合测试工作组)是一种国际标准测试协议(IEEE 1149.1兼容),标准的JTAG接口是4线:TMS、TCK、TDI、TDO,分别为模式选择、时钟、数据输入和数据输出线,(还有可选引脚TRST——测试复位,输入引脚,低电平有效)。
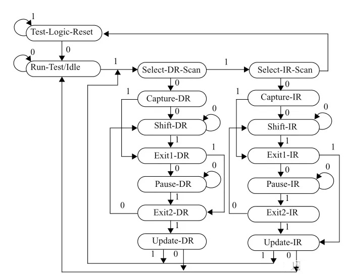
2、TAP Controller
TAP Controller 是一个16位的有限状态机,扫描测试的每个环节都由它来控制。TAP Controller 由TMS在时钟上升沿触发,主要有以下三方面的功能:
loading instructions to IR,
producing control signals to load and shift test data into TDI and out of TDO.
performing test actions such as capture, shift, and update test data.
performing test actions such as capture, shift, and update test data.

4、Boundary scan instruction
主要的几个指令有 :Bypass, Extest, and Sample/Preload.
其他常用的指令有 Idcode, Intest, and Runbist。
Bypass instruction 通常用来在一个器件的TDI和TDO之间bypass data,作为一个最短的测试通路。
Extest instruction 用来测试两个器件(芯片)之间的链接是否有问题。
Sample/Preload instruction 的作用是在不影响芯片的正常工作的情况下,扫描Boundary Scan Register。
5、Boundary scan 测试通路图解
test data shift in

test data is applied to the logic under test

the captured test response is shifted out

边界扫描的优点是可以访问系统(PCB/SOC)中所有的逻辑(modules/cores). 在我们数字IC设计flow中,插入boundary scan也是很方便的。Boundary scan 不仅可以用于测试,也可以用于debug。
由于boundary scan 在集成度越来越高的SOC上面,硬件开销(包括pin脚)相对恒定,所以目前在业界被广泛的采用, 成为DFT不可或缺的一部分。
公司地址: 广东省深圳市福田区梅林路46号天欣大厦301B
联系电话: 13316846676
电子邮箱: sales@zhjtag.com